锻钢承插焊止回阀
产品型号:H11Y/H61Y
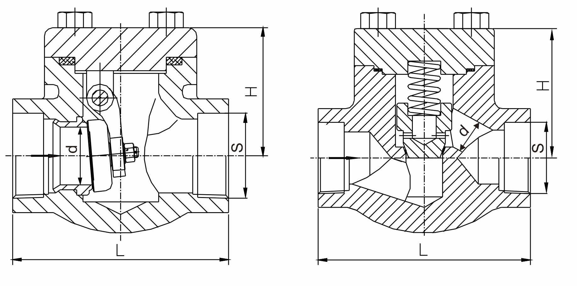
公称通径:DN15-50mm,NPS 1/2"-2"
压力范围:CL150-600Lb
阀体材质:锻钢、不锈钢
适用温度:-29℃~550℃
适用介质:水、蒸汽、油品等
设计标准:MSSP-118和ASME B16.34
承插端标准:ASME B16.11
螺纹连接端(NPT):ANSI/ASME B1.20.1
检验与测试:API 698、GB/T12224
锻钢止回阀密封面采用铁基合金或司太立钴基硬质合金堆焊面成。不锈钢销轴与阀瓣连接采用内装式结构,性能优良,密封更可靠。产品广泛应用于石油、化工、制药、电力行业等各种工况的管路上防介质倒流作用。适用介质为水、油品、蒸汽、气体及某些腐蚀性液体介质等。
产品特点
1、该阀为自动密封阀门,依靠介质本身流动而自动开、闭阀瓣,有效防止介质倒流。
2、其阀体形状与截止阀一样,因此它的流体阻力系数较大。
主要连接尺寸及重量(Clss150LB~600LB)
| NPS(in) | 1/2" | 3/4" | 1" | 1-1/4" | 1-1/2" | 2" | ||
| L(RTJ) | 150 | 108 | 117 | 127 | 140 | 165 | 203 | |
| 300 | 152 | 178 | 203 | 216 | 229 | 267 | ||
| 600 | 165 | 190 | 216 | 229 | 241 | 292 | ||
| H | 150,300 | 61 | 61 | 79 | 95 | 103 | 118 | |
| 600 | 61 | 79 | 95 | 103 | 118 | 135 | ||
|
重量 (Kg) |
150 | RTJ | 2.56 | 3.37 | 4.37 | 8.17 | 8.94 | 12.64 |
| BW | 1.7 | 1.9 | 2.1 | 5.12 | 5.5 | 7.89 | ||
| 300 | RTJ | 2.73 | 3.65 | 4.74 | 8.77 | 9.6 | 13.7 | |
| BW | 1.9 | 2.1 | 3 | 5.12 | 6.6 | 7.85 | ||
| 600 | RTJ | 3 | 4 | 5.83 | 9.47 | 10.1 | 15.6 | |
| BW | 2 | 3.12 | 4.25 | 7.25 | 8.56 | 13.6 | ||
随着经济高速发展,市场竞争越来越激烈,用户对阀门产品的要求也越来越多,并且对服务的要求也越来越高;我司销售部门为适应市场发展的要求,专业设立了服务培训组,为服务质量添加完善的工作,我司的售前、售中、售后服务工作经由专业的销售员来完成。
一、冠环阀门售前服务:
做到技术与销售的良好结合,让用户的每一次采购都有较好的服务体验。
①进行采购前产品技术沟通和交流,主动给予建议。
②在进行产品型号选择时考虑是否成本合理工矿效率等问题。
③不能达到工矿要求时,根据客户的特殊要求,安排设计师合理改善。
二、冠环阀门售中服务:
尊重每位用户;给用户一份省心,放心的整体价值服务。
①进行性价比:比价格,比质量,比服务,反思是否有不做到位的地方。
②严格按相关标准和技术要求进行阀门的检测和试验。
③在合作过程中,依照合同,保质保量准时交货,随时保持与用户联系。
④定制期间,相关技术人员可来我司进行产品监造和检验,同时,我司会提供该产品的结构图及详细文件资料,来做监造文件。
⑤对特殊工矿或定做的产品,可协商专业技术员亲临现场指导。
⑥我公司在发货前以电话进行产品型号、口径、数量、件数的确认。
三、冠环阀门售后服务:
好的服务铸就好的企业让客户无后顾之忧。
①按合同要求提供产品的合格证、检验报告、安装说明书等。
②顾客在验收产品过程中,如出现与合同要求不符时,我司接到顾客通知后两小时内给予处理。
③我司提供十二个月的产品质保期,时间从验收合格之日起计算。
④在正确安装和使用下,出现产品质量问题,本公司将负责到底。
冠环阀门包修包换承诺:
①在正常的储运、安装、保养、使用条件下,因产品的质量问题不能正常使用时,提供三保四包: 保质、保量、保及时、包修、包换、包退、包损失。
②在接到质量信息反馈时,将在24小时内提出处理意见,并做到100小时内赶到现场做处理。
③可根据用户需求协商提供备品、备件和安装、调试、维修服务。
为了让您采购到满意的阀门,减少阀门订购过程出现的问题,也是提高我们工作人员的工作效率。我们希望您提供详尽的订货需求,以便我们为您提高更周到的服务!
阀门订货说明:
1、①产品名称与型号,②公称直径,③阀体材质,④公称压力,⑤使用介质,⑥使用温度,⑦驱动方式,⑧是否带附件,以便我们的为您正确选型。
2、如有特殊要求时请在订购产品时注明。
3、若已经由设计单位选定的型号,请按型号直接向我司销售部订购。
4、当使用的场合非常重要或环境比较复杂时,请您尽量提供设计图。
欢迎您访问我们的网站,如有任何疑问,您可以致电给我们,我们一定会尽心尽力为您提供高品质的服务,详细咨询:15000098987。


我要咨询













021-67895388
shghfmc@163.com